Vi opsamler cookies til at gøre oplevelsen bedre. Når du benytter vores website, giver du samtykke til anvendelsen af cookies. Få mere at vide.
TAP N420-4 UNC1-8 2B
Henter din pris..
Artikel Nr
22.102209
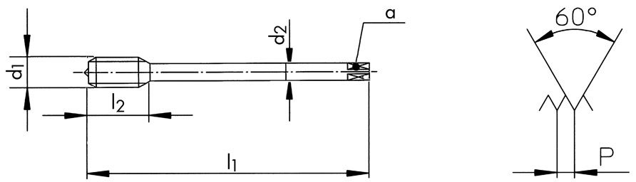
DIN376. Ikke-belagt spåndrivende snittap. Til gennemgående huller. Skærefaselængde 4xP.
| Dimension | 1 |
|---|---|
| Gevind | UNC |
| Model | Spåndrivende |
| Tolerance | 2B |
| Valg af værktøj | Højre |
| Kølekanaler | Nej |
| Bearbejdningsmateriale | N - Ikke jernholdige material |
| d1 (mm) | 25.40 |
| L1 (mm) | 160 |
| L2 (mm) | 39.0 |
| d2 (mm) | 18.0 |
| a (mm) | 14.5 |
| z | 4 |
| Håldiameter (mm) | 22.30 |
| Leverandørens varenr | 102209 |
TAP N420-4 UNC1-8 2B Ligger pakket i antal af 1 stk

